在会计核算中,递延收入是指企业从客户处收取的、与尚未交付或尚未完成的销售商品或服务相关的款项。由于该笔款项虽已收取但尚未实现,因此不能直接计入企业的收入账户。在商品交付或服务完成之前,该笔收入的状态存在不确定性,在会计处理中需先将其确认为一项。
下面我们来看 Odoo 19 财务模块如何处理递延收入。
你可以从 Odoo 19 主仪表板中进入财务会计模块。在模块的设置界面中,可找到递延 收入的相关管理选项。
财务设置下设有默认科目区域,该区域展示企业所有默认会计科目,下图即为递延收入相关分录的展示界面。

系统中设有专门的递延分录日记账与递延收入科目。递延分录既可以手动创建并分组,也可以在账单审核时自动生成。分录的计算方式支持按天数、月份、整月三种模式。

按账单审核自动生成分录
启用该设置后,递延分录会在账单确认时自动生成。

按月份计算
假设某客户向企业购买了一项订阅服务,我们来创建一张新发票。在客户菜单中选择发票选项,即可新增发票。发票列表会展示客户信息、参考编号、开票日期、不含税金额、总计金额及状态等信息,点击「新建」按钮即可创建新发票。
填写客户名称、开票日期、付款条款、日记账等信息后,在发票行中添加产品及数量。同时,发票行中设有开始日期与结束日期字段,用于确定递延收入的归属期间。

客户AMC购买了订阅服务产品,服务期间为 2026 年 1 月 1 日至 2026 年 3 月 31 日。确认该发票后查看相关分录。
发票确认后,界面会出现名为「递延分录」的智能快捷标签,点击该标签即可查看递延收入分录。

第一笔分录涉及两个科目:
- 产品销售收入科目:递延确认收入时,需冲减当期收入,从收入科目借方转出;
- 递延收入科目(流动负债):负债增加时记入该科目贷方。
本例中,递延收入期限为3 个月(1 月至 5 月),按 30 天/月计算,总金额为 100000元。但指定开始日期为 1 月 20 日,1 月剩余 11 天,折算为 11/30 = 0.36666667 个月,因此总服务期为 2.36666667 个月。
- 每月递延收入 = 100000 / 2.36666667 ≈ 42253.52 元
- 1 月递延收入 = (11/30) × 42253.52 ≈ 15492.96 元
会计日期为 1 月 31 日。每月摊销时,负债减少、收入增加,因此借记递延收入科目,贷记产品销售收入科目。

按天数计算
若选择按天数计算递延收入,分录金额计算方式会发生变化,首先按下图修改配置。
随后创建新发票,客户仍为 AMC,购买相同订阅产品,设置开始日期为 2026 年 1 月 1 日,结束日期为 2026 年 3 月 31 日,确认发票。
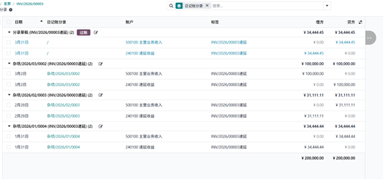
确认后,发票上方同样会显示「递延分录」智能标签,本次按天数计算:
- 总天数 = 90 天
- 每日递延收入 = 1000 ÷ 90 ≈ 1111.11元
- 1 月递延收入 = 1111.11 × 31 ≈ 34444.44 元
- 2 月递延收入 = 11.111 × 28 ≈ 31111.11 元
相关日记账分录会在会计日期自动过账,也可点击「过账」按钮手动完成。

按整月计算
第三种计算方式为按整月计算,即将总金额在服务月份内平均分摊。首先修改相关配置。
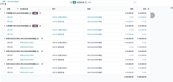
随后为客户创建新发票,开始日期为 2026 年 1 月 21 日,结束日期为 2026 年 4 月 30 日,产品为订阅计划,总金额 100000 元,确认发票。
打开「递延分录」智能标签,系统会展示所有已生成的分录,本例中每月摊销金额完全一致。
- 总服务期 = 4 个月
- 每月递延收入 = 100000 ÷ 4 = 25000 元

手动创建并分组生成分录
第二种创建递延分录的方式为手动创建并分组,该模式下不会自动生成日记账分录,需用户每月手动创建。
进入财务设置,在递延分录设置中,将生成分录方式改为「手动并分组」。
- 创建新发票,客户仍为AMC,产品为订阅计划,设置递延期间为 2026 年 3 月 1 日至 2026 年 6 月 30 日,开票日期为 3 月 30日,确认发票。

- 确认后系统不会自动生成完整分录,需用户手动创建日记账分录。
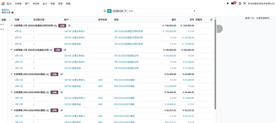
Odoo 提供了递延收入报表,用于生成并查看递延分录,该报表位于「调整分录」模块下。在审核菜单中选择递延收入报表即可打开。

报表界面如下,通过筛选器选择对应月份后,页面左上角会出现「生成分录」按钮,点击即可生成日记账分录。系统会依次生成:
- 当月分组递延分录

该类分录目前为草稿状态,会在会计日期自动过账。若需手动过账,可在「其他信息」标签中将自动过账改为「否」,再点击「过账」按钮。
总结
高效管理递延收入对维护企业财务账簿、遵守会计准则至关重要。Odoo 19 财务模块简化了该流程,为企业提供了高效管理递延收入的工具。按照上述流程操作,企业可确保财务报表真实反映收入状况,优化经营决策与财务管理。。